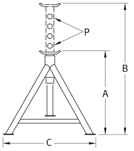
Chandelle à goupille 5T 365/605mm

Référence : 15467

Structure acier.

En savoir plus

Description technique

Structure acier.

Matière

acier

Force de travail

5T

Positions de réglage

5

Hauteur maximum

567mm

Hauteur minimum

406mm

Poids article

10KG

A

406mm

B

567mm

C

355mm

P

5mm