Chandelle à goupille 8T 370/600mm

Référence : 15067

Structure acier.

En savoir plus

Description technique

Structure acier.

Matière

acier

Force de travail

8T

Positions de réglage

5

Hauteur maximum

633mm

Hauteur minimum

424mm

Poids article

9.7KG

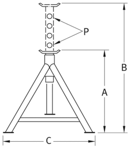
A

424mm

B

633mm

C

403mm

P

5mm