Chandelle à goupille 2T 430/740mm

Référence : 15066

Structure acier.

En savoir plus

Description technique

Structure acier.

Matière

acier

Force de travail

2T

Positions de réglage

5

Hauteur maximum

755mm

Hauteur minimum

505mm

Poids article

5.8KG

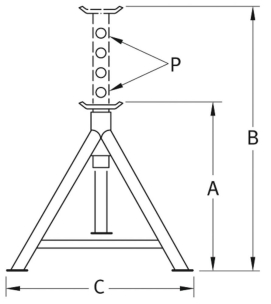
A

505mm

B

755mm

C

491mm

P

5mm