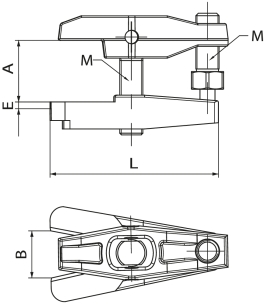
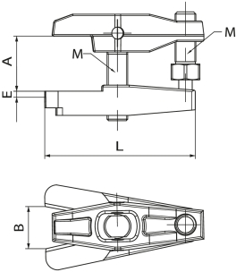
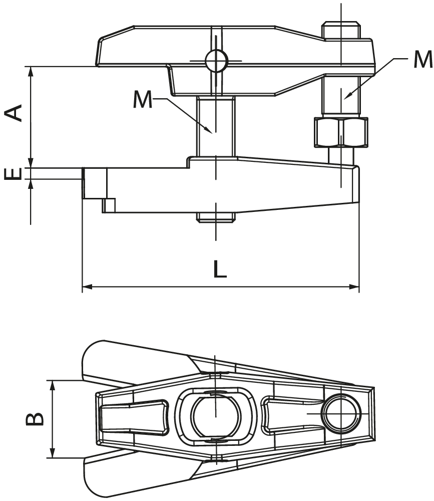
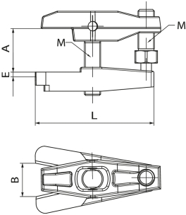
Extracteur de rotule PL 28/32mm
Référence : 09157
Type PL.
En savoir plus
Documentation
Description technique
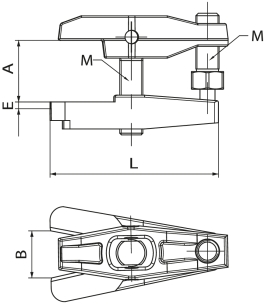
Type PL.
Diamètre
28-32mmType
de rotuleUsage
PLPoids article
2.6KGA
95mmB
28 à 32mmE
5mmL
157mmM
M22x1,5mm