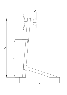
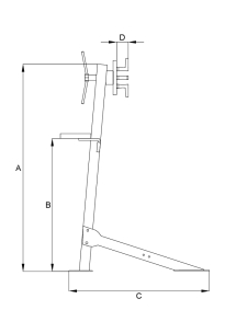
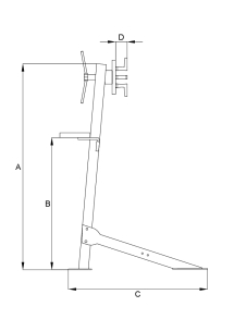
Support 300kg pour moteur

Référence : 53102

Chevalet pour inspection des véhicules.

En savoir plus
Les plus
  • Permet d'effectuer une rotation à 360° du moteur
  • Structure compacte et robuste en acier soudé
  • Butée mécanique à vis pour bloquer le moteur lorsqu'il est en position
  • Bras d'ancrage galvanisé à réglage multiple pour une préhension parfaite
  • Bac porte-outils de série

Description technique

Chevalet pour inspection des véhicules.

Capacité

300kg

Type

moteur

Poids article

45KG

A

1100mm

B

710mm

C

570mm

D

60mm